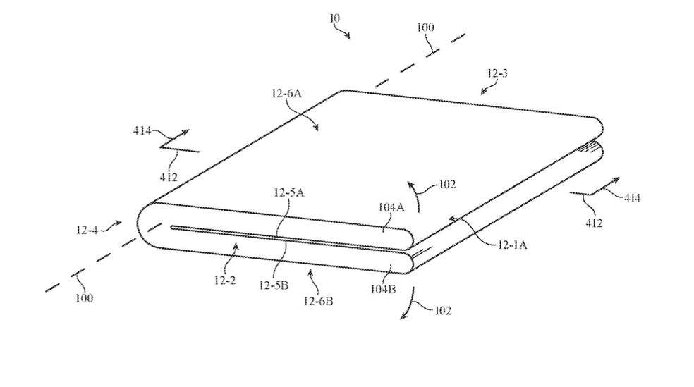
O suposto iPhone dobrável da Apple pode ser lançado com bordas e parte traseira sensíveis ao toque. Ao menos é o que indica uma patente registrada recentemente pela empresa que trata de um dispositivo eletrônico flexível com “estruturas de sensores de exibição e toque”. O conceito menciona ainda a adição de botões virtuais de atalho para funções quando o aparelho estiver dobrado.
Caso a ideia se concretize, o mercado de celulares dobráveis (atualmente dominado pela Samsung) terá a Apple como participante do segmento. Até o momento, nenhum dispositivo dobrável comercialmente disponível conta com recurso que lembre, mesmo que de forma mínima, o conceito registrado pela gigante de Cupertino.
/i.s3.glbimg.com/v1/AUTH_08fbf48bc0524877943fe86e43087e7a/internal_photos/bs/2023/E/r/Qj458jQXAeOcfSlpaAzA/53001-106090-002-curved-xl.jpg)
Patente de dispositivo dobrável da Apple com “touch infinito” — Foto: Reprodução/Apple Insider
Como seria o iPhone dobrável?
O documento de patente registrado pela Apple foi obtido pelo site especializado AppleInsider. Nele, o detalhamento do conceito afirma que o objetivo deste tipo de produto é aproveitar a interface de sistema mesmo que o dispositivo esteja fechado. Assim, seria possível tocar e deslizar o dedo sobre as laterais ou costas do aparelho para ativar ferramentas e controlar recursos como brilho da tela ou volume dos alto falantes, por exemplo.
Além disso, a Apple explica no documento que o gabinete do chassi do dispositivo dobrável conterá “circuitos de controle, baterias e outros componentes”. De acordo com a marca, a estrutura seria protegida por paredes que “podem ter porções opacas e partes transparentes”. Sobre a construção utilizada, a empresa cogita uma série de materiais como plástico opaco, metal, fibras e cerâmica.
Para que serviria a borda sensível ao toque do iPhone dobrável?
/i.s3.glbimg.com/v1/AUTH_08fbf48bc0524877943fe86e43087e7a/internal_photos/bs/2023/j/0/z8rWwSQteHsmqicu1TOg/53001-106091-001-curving-iphone-xl.jpg)
Apple argumenta que jogos e outras aplicações podem usar os novos espaços sensíveis ao toque — Foto: Reprodução/AppleInsider
A Apple dá exemplos de apps em que este tipo de controle seria útil. De acordo com a empresa, jogos ou aplicativos diversos podem se beneficiar do sensor ao toque nas superfícies traseira e lateral “para coletar entrada de toque enquanto exibe informações visuais associadas em uma tela na superfície frontal oposta do dispositivo”.
Apesar de a patente ter sido descoberta na terça-feira (14), os registros foram feitos pela companhia em 2013. Vale lembrar que, embora a ideia tenha sido patenteada, isso não significa, necessariamente, que um produto do tipo será lançado. Apesar disso, como noticiado pelo TechTudo, analistas esperam que a companhia lance um produto dobrável em 2025.
Foto:ConceptsiPhone (@RanAvni1)/Twitter
TECHTUDO

